SX241.5 Swinging-Bucket Rotor
Product No:392271
12,950, 16,244. For use in Allegra X-22 Series, and discontinued GS-15 Series and Allegra 21 Series centrifuges.
Product Specifications
| Platform | Allegra 21 |
| Rotor Type | Swinging-Bucket (General Purpose) |
| Angle | 90 |
| Maximum RPM | 14,000 rpm |
| Max g-Force | 16244 xg |
| k-Factor | 968 |
| Adapters | 361247, 364690 |
| Number of Tubes | 11 x 45 mm, 25 x 2.2 mL |
| Nominal Capacity | 52.8mL |
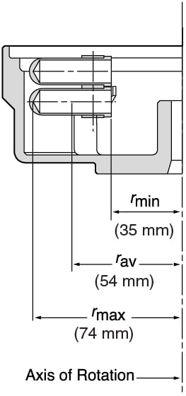
| rMAX | 74 |
| rMIN | 35 |
| rAV | 54 mm |
| BioSafe | Yes |
| Materials | Aluminum |
| Package Quantity | 1 |