VFC 24.15 Fixed-Angle Rotor

Product No:C63138

The VFC 24.15 is a fixed-angle rotor for the Allegra V-15R benchtop centrifuge designed to centrifuge up to 24 x 15 mL tubes.
Applications for this rotor include density gradient separations of erythrocytes, cell lysate fractions, granules, as well as differential separation of DNA, proteins, and viruses.

Especificaciones

Platform Allegra
Rotor Type Fixed-Angle
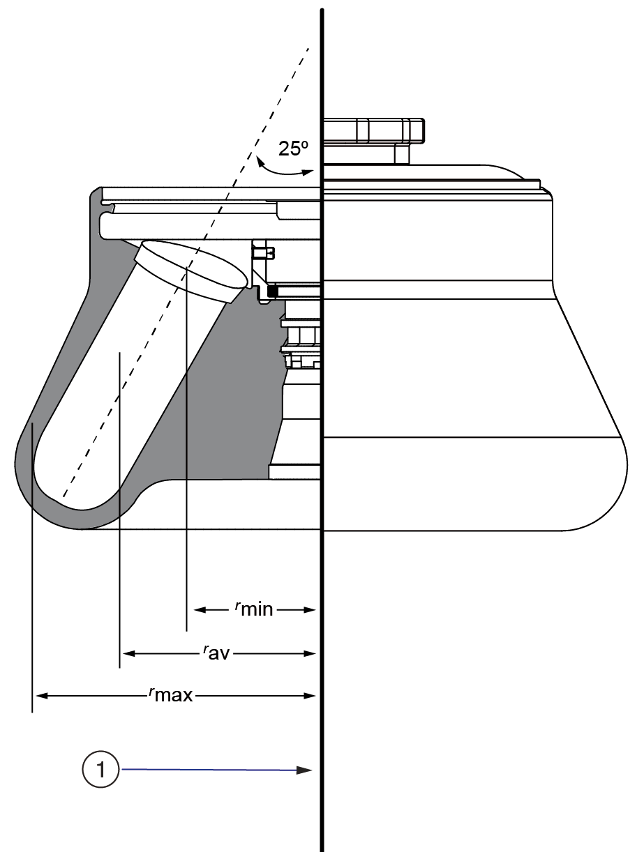
Angle 30° (Outer Row) | 40° (Inner Row)
Maximum RPM 9,000 rpm
Max g-Force 11,431 xg
k-Factor 2,165 (Outer Row), 2,950 (Inner Row)
Number of Tubes 24 x 15 mL
Nominal Capacity 360mL
rMAX 126
rMIN 63
rAV 94.5 mm
BioSafe No
Materials Anodized Aluminum
Package Quantity 1