FX121.5P Fixed-Angle Polypropylene Rotor with Snap-on Lid- 12 x 1.5/2.2 mL, 14,800 rpm, 15,183 x g
Product No:A46476
Product Specifications
| Platform | Microfuge |
| Rotor Type | Fixed-Angle (General Purpose) |
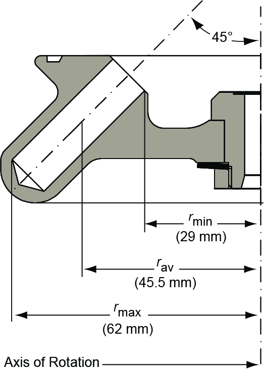
| Angle | 45 |
| Maximum RPM | 14,800 rpm |
| Max g-Force | 15183 xg |
| Adapters | 361247, 364690, 392294 |
| Number of Tubes | 11 x 40 mm, 12 x 1.5-2.2 mL |
| Nominal Capacity | 26.5mL |
| rMAX | 62 |
| rMIN | 29 |
| rAV | 45.5 mm |
| Materials | Polypropylene |
| Package Quantity | 1 |